作者:薯条鱼 c
最近,特斯拉悄悄地向美国证券交易委员会递交了一份文件,10-K 这一部分密密麻麻地讲述了一个道理:特斯拉中国的收入连续两年增长超过 100%。
特斯拉最可怕之处,在于当它位于行业第一的位置时,还能以最快的速度增长,不仅落下你,还要越落越远。
做到这一点,靠的,是特斯拉在电动车各相关领域持之以恒对技术的钻研和打磨。
除了看得见的成绩,还有看不见的专利。
这不,特斯拉又悄悄拿到了三个。
更棒的玻璃盖板

在车外,亮闪闪的玻璃最影响颜值。
在车内,明透透的玻璃最决定质感。
为了让车变得更美,让屏幕变得更清晰,所有的车厂都在为制造出反射更少、透光更多的玻璃盖板而努力,就需要精确控制玻璃表面的纹理。
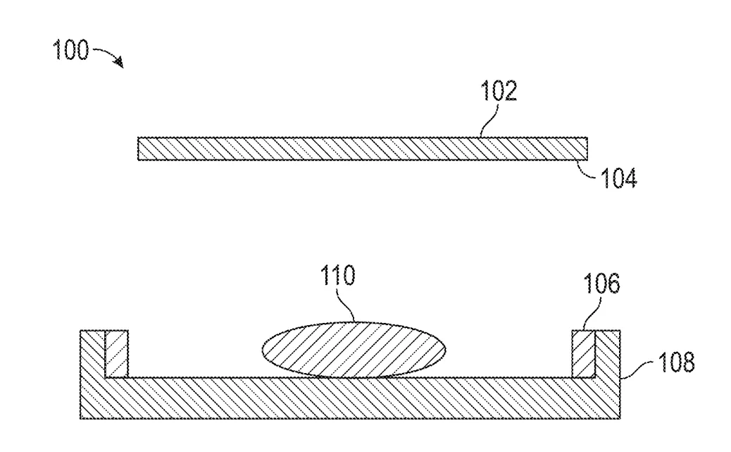
如果要给玻璃表面打上特定的纹理,你会想到用什么方法?
当前主流的工艺如下,先把玻璃加热到熔化状态,这就是下图中代号 110 的椭圆状物体所指代的,然后放进特定模具中加压,使玻璃变成模具的形状,在这个过程中,模具表面的纹理,也就是下图中 104 所指代的内容,就会被压在玻璃表面上。

这种方法的模具一般是用喷砂、电火花、机加工或激光蚀刻等方法制作的,加工出来的模具都存在一个问题,那就是精度不够高。
举个例子,激光蚀刻是用激光脉冲在模具表面进行雕刻,从而形成模具纹路的加工方法。单次脉冲激光会从模具表面蒸发掉约 50 微米深,约 40 微米见方的材料,连续的脉冲激光就能雕刻出一条连续的纹路。而 50 微米以下的雕刻,激光刻蚀就无能为力了。

这种精度级别的表面纹理,无法精确控制玻璃的光学属性,玻璃表面的光泽度也会受到影响。
特斯拉专利,直接进化到了现在最火热的概念 —— 用 3D 打印的方式来制作模具纹理。
这就使得在 50 微米以下尺寸精度上实现高度可控打印纹路成为可能,这意味着每条纹理之间的过渡会变得更加圆润,光学特性也就更为可控,以后我们在特斯拉上见到的玻璃,将实现低反光、高透光。


虽然特斯拉在专利中专门提到,用这种方法生产的玻璃将会用在屋顶太阳能电池板上。
但随着技术的逐渐成熟,这一技术出现在特斯拉的车辆上只是时间问题。
更安全的电池 Pack 封装

特斯拉一直拥有行业中最优秀的电池性能。
影响这一结果的原因很多,有时候是类似于新电芯这样的化学成果,有时候是改变电池模组封装形式这样的物理努力。
这次,特斯拉又在封装上努力了,涉及到电芯封装形式、电芯连接形式以及排气结构设计等几个方面。

1 、电芯封装方式
谈到电芯,我们最熟悉的电池封装形式,可能就是 5 号电池。它的正负极分布在电池的两端。这种设计的目的是为了防止电池发生短路。

但这种设计在电芯组装成电池组时会造成一些不便。
众所周知,单粒锂电池电芯的额定电压为 3.7V,满电电压为 4.2V,要组成电压为 350V,容量为几十甚至上百 kWh 的电池组,就需要将电芯用金属片进行并联和串联,这些连接金属片被称为「母排」。

正负极在两端,在并联电芯时,就需要分别在电芯的两端焊接母排。
特斯拉把同一组并联的电芯称为一个「brick」。请记住这个概念。
这其实也不算太麻烦,但在串联这些 brick 时,麻烦就来了:一个 brick 的正极需要连接另一个 brick 的负极,形成串联。
为了达到这个目的,就需要把一个 brick 正极向上摆放,而另一个需要与它串联的 brick 需要正极向下摆放,例如下图。这样一来,两个 brick 的正负极就在同一平面上,从而完成串联。

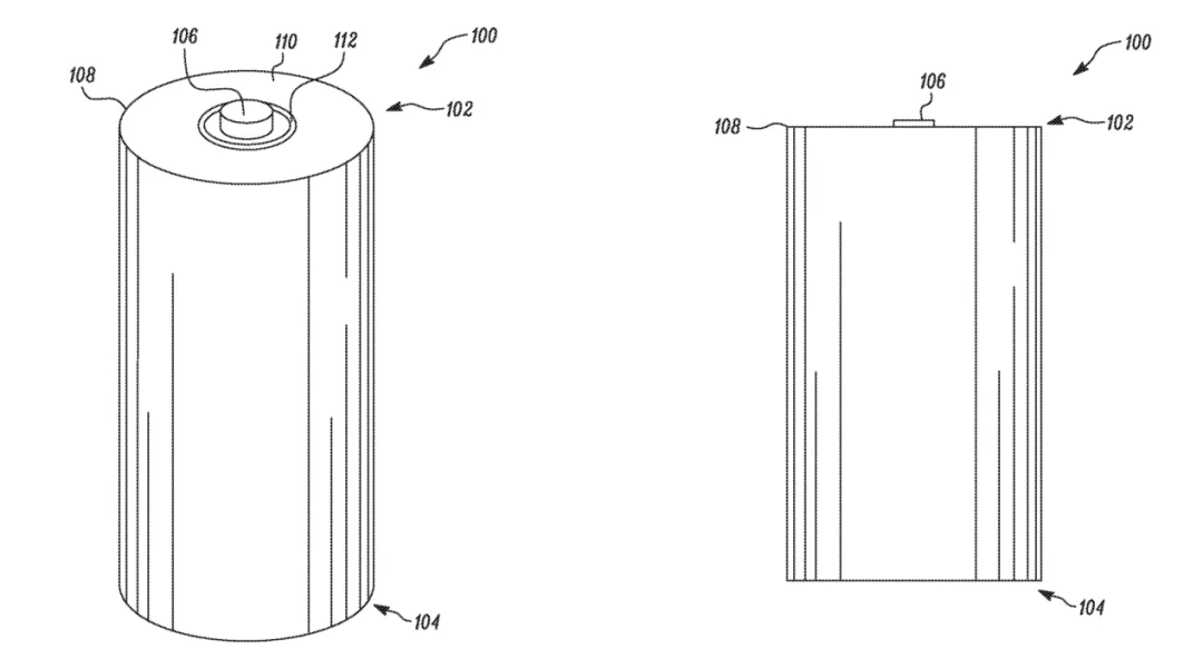
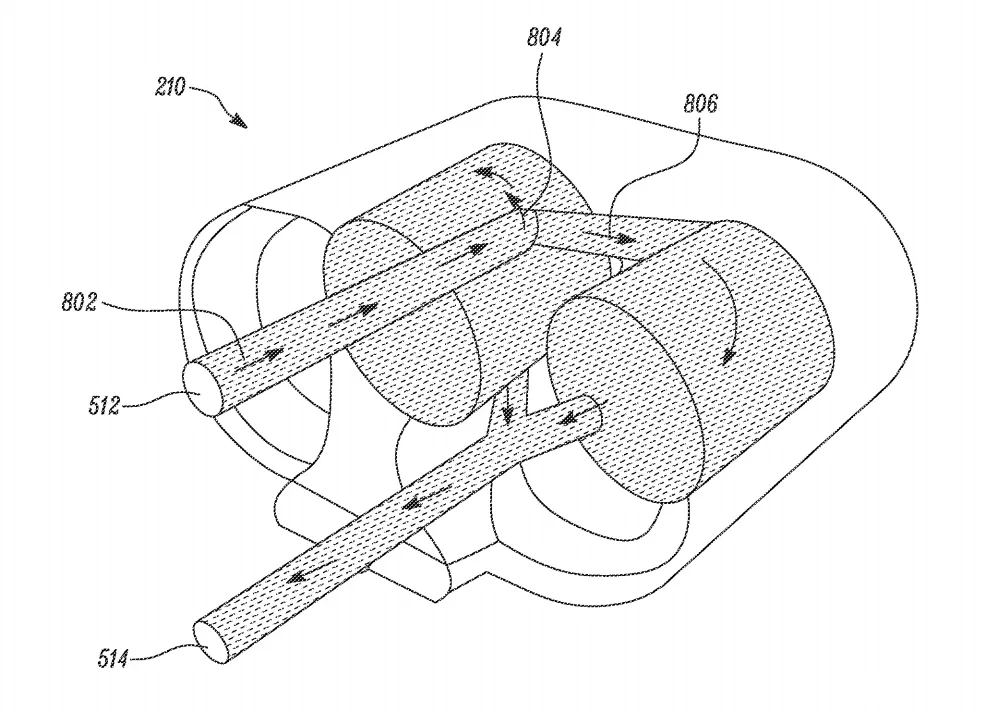
特斯拉在这份专利中,特斯拉展示了一种和上文不一样的电芯封装。如下图所示,106 为电芯的正极,电芯的负极从电芯底部 104 处用导体一直沿着电池侧壁向正极方向延伸,最终包裹住电芯上端的一部分 108,特斯拉很形象地把这一部位称为电芯的「肩部」。
完成这番操作,电芯正极和负极就处在同一平面上了,正极和负极之间则用绝缘环 112 进行分隔。

2 、电芯连接方式
既然电芯的正、负极都在一个平面上了,那么在串、并联这些电芯的时候,就可以把电芯统一朝一个方向摆放,再也不用正放倒放折腾了。

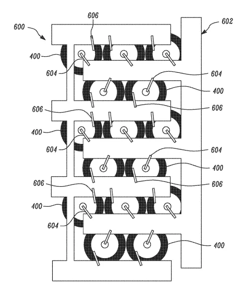
电芯之间的并联也因此变得更为简单。如下图所示,通过使用两片相互交叉的母排完成电芯并联。电芯的正极通过 604 连接导线接到正极母排 602 上,电芯负极则通过连接导线 606 接负极母排 600 上。

当上一个 brike 的负极母排作为下一个 brick 的正极母排时,两个 brick 之间就形成了串联。
如下图所示,每个虚线框内的电芯组成了一个 brick,右侧 brick 的负极母排作为左侧 brick 的正极母排,连接了左侧 brick 所有电芯的正极,两个 brick 之间很自然形成了串联关系。

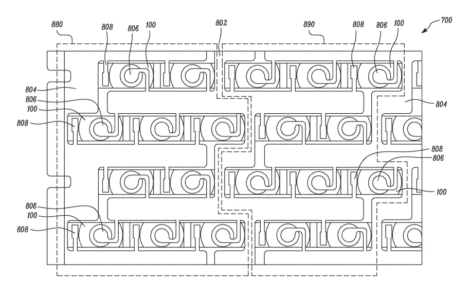
接下来,把这种关系进行一个复制扩展,就形成了整个电池 Pack 的连接图。

这种设计对电池 Pack 生产而言,可以降低成本,提升效率。
3 、排气结构
当单个电芯发生故障时,会向外喷射高温气体,这种气体往往是带有腐蚀性的。高温腐蚀性气体在电池 Pack 内积聚,很有可能造成其他原本工作正常的电芯失效,使原本只由一个电芯的问题发展成整个电池 Pack 的故障。
为了解决这类问题,特斯拉在本项专利中提到了一种排气结构设计,能够把因电芯故障喷出的气体排出,并将这些气体引导到不会影响其他电芯的位置。
这一设计被安排在电池 Pack 的顶部盖板上。盖板覆盖在所有电芯的顶部,特斯拉在顶板上设计了若干个易破损的低强度区域,这些低强度区域可以是正六边形,也可以是其他形状,它们的厚度将远薄于盖板其他正常的盖板区域。当电芯发生故障向外排出气体,电池 Pack 内部压力变大,这些低强度区域就会产生裂口,从而使气体排出。

简而言之,采用这种设计的电池 Pack 应该就不会出现电池组鼓包的现象了。
小结一下,该专利将提升电池 Pack 的生产效率和安全性。
更冷静的充电枪

随着快充技术的发展,如今电动车充电的电压和电流越来越大。这对用户来说,充电越来越快了自然是件好事。而对于充电设备来说,更大的功率也就意味着更大的热负担。
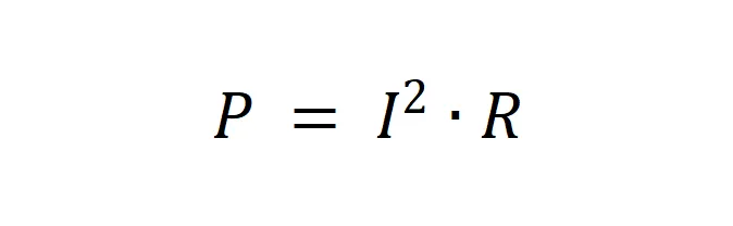
就拿充电线缆来说,线芯虽然是金属导体,但仍存在微小的电阻。根据初中学习的电阻发热功率公式,电阻发热与流经电阻的电流的平方成正比。

用人话说,就是电流越大,发热就越厉害。
解决此问题的方法是使用液冷线缆。特斯拉在推出 V3 超充桩时,就运用了一种结构比 V2 超充更紧凑、更轻便的新型液冷线缆。

现在,特斯拉此项专利则把液冷技术延伸到了充电枪。

专利中提到,如下图所示,在充电枪的两根主线缆接口外部,即图上的 404 和 406,将会分别安装套筒 410 、 412,然后再用一个中空的歧管 414 将两个套筒包裹起来。

将上述部件安装到一起,套筒和歧管之间就会形成一个空腔。

歧管上设有进液口和出液口,冷却液可以在这个空腔里循环流动,实现充电枪散热。

值得注意的是,这一专利的申请时间发生在 2021 年 7 月,V3 超充已经部署了超过一年的时间,我们有理由相信刚刚开始交付的用来服务 Semi 卡车的 MegaCharger 充电系统,和传闻中将随着 Cybertruck 一起到来的 V4 超充,将在速率和体验上带给我们更多快感。
很明显,随着全球电动车竞争格局的升温,以及特斯拉新工厂、新产品的交付在即,特斯拉的车轮将很快进入新一轮的技术驱动循环周期,在可以遇见的时间段内,特斯拉即将浮出水面的技术专利,将越来越多。
更大胆的猜测是,随着赛道内玩家增多、技术研发费用投入越来越大,特斯拉对于专利的态度也将从最初的开发走向保护,专利大战也许会一触即发。
准备好钱包吧。













